
2026年1月14日,一则来自“中国宝能”公众号的实名举报视频,让舆论场骤然沸腾。
宝能集团董事长姚振华亲自出镜,实名举报常熟市委常委陈国栋、常熟经济技术开发区管委会以及常熟市人民法院,一场牵涉百亿资产的博弈就此浮出水面。
镜头前的姚振华语气急切,称上述三方“串通操纵”观致汽车2.7亿元执行案件。
据其控诉,这家宝能已经投入超200亿元的车企,其核心资产经第三方机构评估价值约80亿元,但常熟市人民法院给出的评估价仅为15亿元,即将在1月15日上午10 点启动的第二次司法拍卖,起拍价更是低至 8.6 亿元。
这意味着,一旦拍卖落槌,宝能多年来在观致汽车上的巨额投入,可能在一夜之间被“腰斩式”变现。
01观致汽车将迎二次拍卖,百亿投入恐打水漂?
姚振华在举报中的披露,2018年至2025年底,宝能对观致汽车的累计投入约260亿元,覆盖股权收购、核心技术研发、生产设备升级及日常运营保障等多个领域。
即便在2022年下半年宝能自身出现流动性困境后,仍向观致汽车净投入25亿元用于维持运营及推动生产线复工复产,同时为观致汽车清偿了约26亿元金融债务,以维系企业存续。
此次举报的核心争议聚焦于观致汽车核心资产的处置方式。
姚振华指出,在这起标的额2.7亿元的执行案件中,相关方存在违法成立清算工作组、超额查封执行标的等违规操作。

观致汽车厂房图源:网络
了解到,该执行案件源于苏州资产管理有限公司与观致汽车、深圳宝能投资集团之间的金融借款合同纠纷。
2025年11月10日,常熟市人民法院作出裁定,决定拍卖、变卖观致汽车相关资产以清偿债务。
但姚振华强调,观致汽车旗下土地、厂房、机器设备等核心资产的第三方评估价(约80亿元)与法院认定的评估价(15亿元)存在显著差距。
另一个关键争议点在于破产重整程序与执行拍卖的衔接问题。
公开信息显示,苏州市中级人民法院已于2025年12月22日正式立案受理观致汽车的破产重整申请。
姚振华认为,依据相关法律规定,破产重整程序启动后,此前推进的资产拍卖应依法暂停,但此次二次拍卖仍在正常推进。
注意到,该拍卖已在京东司法拍卖平台上线,起拍价约为8.6亿元,为法院认定评估价的5.7折,截至目前已有1人报名。

姚振华质疑,相关方此举或意图以远低于资产实际价值的价格获取观致汽车优质资产,后续再推动企业走向破产清算,进而损害企业及相关方的合法权益。
不过,上海德禾翰通律师事务所管委会主任邱文宇律师对凤凰网《风暴眼》表示,根据公开信息,2025年12月22日观致汽车有限公司在苏州中院进入破产审查程序。我国《破产法》规定,人民法院受理破产申请后,有关债务人财产的保全措施应当解除,执行程序应当中止;但需明确的是,只要破产申请(包括重整申请)尚未被正式裁定受理,执行程序在法律上并不必然停止。
而观致汽车的命运之所以牵动姚振华的神经,不仅因为这是一笔可能被“腰斩式”处置的百亿资产,更因为它折射出宝能集团当前的整体困境。
事实上,这场围绕2.7亿元执行案的激烈博弈,只是宝能千亿债务压力下的一个缩影。
要理解姚振华为何选择以实名举报的方式孤注一掷,就必须回到他从资本巅峰跌落的轨迹。
那个曾经撬动万科、震动格力的“野蛮人”,如今正背负着上千亿元的债务,艰难求生。
02昔日资本市场“野蛮人”,今背负千亿债务
姚振华的急切,本质上是宝能集团深陷债务泥潭、核心资产面临流失风险的集中爆发。
这份窘迫,与他昔日在资本市场的意气风发判若两人。

时间回溯至2015年,A股市场震荡之际,姚振华掌舵的宝能系逆势出击,通过旗下前海人寿和钜盛华两大平台,以层层杠杆撬动资金,连续14次举牌万科,累计耗资超323亿元,持股比例一度攀升至25.4%,超越华润成为万科第一大股东。
这场轰动全国的“宝万之争”中,姚振华虽最终未能拿下万科控制权,却通过后续减持获利超500亿元,“资本野蛮人”的标签传遍资本市场,也让他跻身福布斯富豪榜,迎来商业生涯的巅峰。
巅峰之上的姚振华,资本野心持续膨胀。2016年,宝万大战的硝烟未散,他又将目光投向了格力电器。凭借前海人寿的资金优势,宝能系仅用8个交易日便大举增持格力股票,持股比例从0.99%跃升至4.13%,一跃成为格力第三大股东,距离举牌线仅一步之遥,再次引发资本市场震动。
彼时的格力现金流充沛、盈利能力强劲,姚振华的入局被市场解读为又一场“野蛮人入侵”,虽最终因监管收紧及格力管理层抵制未能更进一步,却足以彰显其当年在资本圈的威慑力。
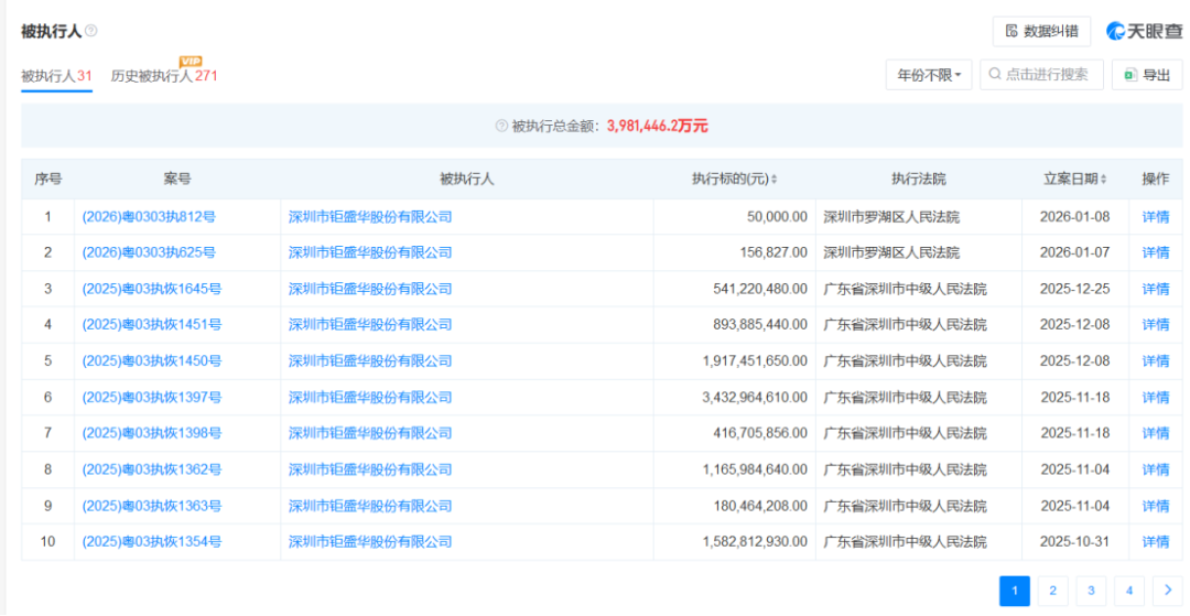
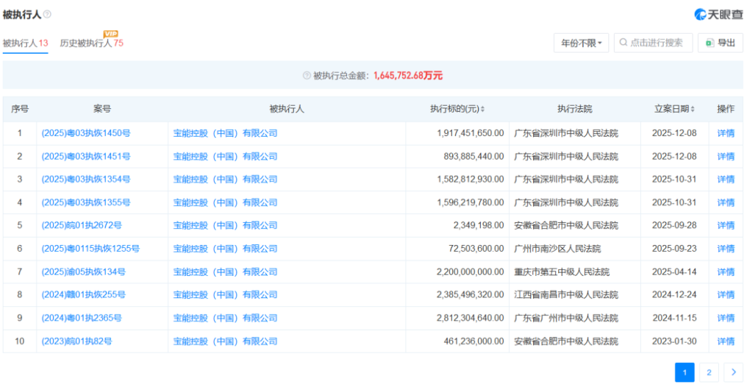
天眼查数据显示,截至目前,仅宝能集团、钜盛华、宝能控股三家核心平台,累计被执行金额合计已高达约1058亿元,其中宝能集团被执行金额496亿元、钜盛华398亿元、宝能控股164亿元。



昔日撬动千亿资产的资本杠杆,如今沦为压垮企业的沉重负担。
单一债务纠纷的判决执行,更让宝能的偿债压力雪上加霜。2025年12月,广东省高级人民法院就上海银行与宝能系旗下深业物流的金融借款纠纷作出一审判决,要求深业物流10日内偿还73亿元本金及相应利息、罚金,姚振华及宝能系多家核心企业需承担连带清偿责任。
这桩源于2018年的旧债,涉及三笔合计73亿元的贷款,分别于2021年、2022年到期违约,逾期时间最长已超4年。法院判决明确,上海银行可优先处置深业物流、宝能地产提供的不动产抵押及租金收入,这意味着宝能系核心优质资产将面临被处置的风险。
尽管宝能城发作为集团综合开发业务核心平台,在2025年展现出一定经营韧性,通过盘活千亿核心资产、推进全国16地项目批次交付实现交付满意度超90%,新疆宝能城、昆明宝能滇池九玺等项目也取得亮眼销售业绩,但这难以覆盖集团整体的债务缺口。
值得注意的是,宝能系的债务困境源于此前激进的多元化扩张,“宝万之争”后,监管部门以“违规运用保险资金”为由,禁止姚振华进入保险业十年,斩断了其核心融资渠道。
然而急于“转型”实业身份的他,斥资千亿收购观致汽车、南玻集团,豪言“10年造车500万辆”,还跨界控股中炬高新布局食品领域,近千亿元的跨行业投入叠加房地产调控收紧、金融监管强化,最终导致资金链在2021年断裂,流动性危机持续蔓延。
从当年挥斥百亿举牌龙头企业,到如今为保住观致资产公开举报,姚振华的境遇转折,恰是杠杆狂欢退潮后,资本泡沫破裂的真实写照。
此次观致汽车核心资产拍卖,成为压垮姚振华的关键一根稻草。
观致汽车作为宝能多元化布局的重要载体,其资产处置结果直接关系到260亿元投资的存续及1500家供应商合计139亿元债权的实现。
对于早已被债务纠纷缠身、核心资产不断被查封处置的宝能而言,失去观致汽车的优质资产,无疑将进一步削弱其重整翻盘的可能性。
姚振华的实名举报,既是对资产被低价处置的抗争,更是宝能系在债务泥潭中最后的挣扎。